
Details:
1, Material : Steel
2, Weight : 300-30000kgs
3, Finish : black coating
4, Certificate : CCS, LR, ABS,GL,NK, RS, DNV,BV,KR

|
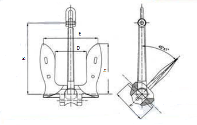
Nominal
Weight
(Kg) |
SIZE(mm)
|
Nominal
Weight
(Kg) |
SIZE(mm)
|
||||||||
|
B
|
D
|
E
|
F
|
h
|
B
|
D
|
E
|
F
|
h
|
||
|
300
|
727
|
319
|
562
|
348
|
510
|
5000
|
1884
|
816
|
1436
|
889
|
1323
|
|
400
|
800
|
351
|
619
|
364
|
570
|
6000
|
1974
|
867
|
1528
|
947
|
1403
|
|
500
|
863
|
379
|
666
|
412
|
614
|
7000
|
2082
|
913
|
1606
|
996
|
1480
|
|
600
|
914
|
402
|
708
|
438
|
652
|
8000
|
2171
|
955
|
1679
|
1040
|
1547
|
|
800
|
1008
|
443
|
778
|
783
|
710
|
9000
|
2257
|
993
|
1747
|
1082
|
1609
|
|
1000
|
1071
|
477
|
839
|
520
|
773
|
10000
|
2336
|
1028
|
1809
|
1120
|
1667
|
|
1200
|
1152
|
507
|
892
|
532
|
822
|
12000
|
2486
|
1093
|
1924
|
1193
|
1771
|
|
1500
|
1244
|
546
|
962
|
596
|
883
|
13000
|
2540
|
1122
|
1965
|
1194
|
1819
|
|
1800
|
1320
|
580
|
1021
|
632
|
941
|
15000
|
2679
|
1177
|
2089
|
1295
|
1908
|
|
2000
|
1371
|
601
|
1058
|
655
|
975
|
16000
|
2735
|
1203
|
2116
|
1311
|
1950
|
|
2200
|
1412
|
521
|
1092
|
676
|
1006
|
18000
|
2844
|
1251
|
2200
|
1365
|
2028
|
|
2500
|
1473
|
648
|
1139
|
706
|
1050
|
20000
|
2946
|
1296
|
2280
|
1412
|
2100
|
|
3000
|
1564
|
704
|
1270
|
775
|
1090
|
22500
|
3060
|
1345
|
2370
|
1463
|
2134
|
|
3500
|
1641
|
725
|
1275
|
790
|
1175
|
25000
|
3174
|
1396
|
2456
|
1521
|
2262
|
|
4000
|
1724
|
758
|
1333
|
826
|
1228
|
30000
|
3371
|
1483
|
2628
|
1631
|
2404
|
![[!--classname--]](/d/file/cf9f4cc3dcdb83a92910e1f1f158df20.png)
![[!--classname--]](/d/file/2cec3dace2298d1d5deb85031f044caf.png)
![[!--classname--]](/d/file/0adfba917b7e774297e8194d040eddec.png)
![[!--classname--]](/d/file/63b52d35eec1a3529c9ab40f4ee1cc1a.png)
![[!--classname--]](/d/file/9a41eb079966e9dfa784af06dd718bb0.png)
![[!--classname--]](/d/file/09cd66c6c09577534fb1ccdcd4de5b42.png)
![[!--classname--]](/d/file/4945e2228b2ea493e1e5f7a765c76da4.jpg)
![[!--classname--]](/d/file/f5bca19f6da40ec933e5ceb025b621c1.png)
![[!--classname--]](/d/file/dfe423836dcc6b551d7ea1e8ae24e660.jpg)
![[!--classname--]](/d/file/0e398c4331b9064455177c9b19fa670a.jpg)
![[!--classname--]](/d/file/4cdc6fdf60393e3205ec632fc64ea9f6.png)
![[!--classname--]](/d/file/5ad3b3c5a42271f0b03e091373165158.png)
![[!--classname--]](/d/file/9a153e75d7029c99b4066864e29379fa.jpg)
![[!--classname--]](/d/file/1e773fbb69c0a77d8ba14ad70bb8594d.jpg)
![[!--classname--]](/d/file/2df8cad64bcfc94ba8f9962cb6405148.png)
![[!--classname--]](/d/file/35dcabe35dd57ba9c0f60393c01f13cf.jpg)
![[!--classname--]](/d/file/a83cfecb383a04e49924fc00a38ce066.png)
![[!--classname--]](/d/file/126b27d6ca89bb1f688bdbf8feb1890f.jpg)
![[!--classname--]](/d/file/51f2e4fb45d04b3bba1232f7970f27c4.jpg)
![[!--classname--]](/d/file/7bb55b4703a27a3f6dfc38da7061d489.jpg)
![[!--classname--]](/d/file/50a6faea8ea275e5f91634d8fa52f001.jpg)
![[!--classname--]](/d/file/ae84a9f8c806f1c62b18bee483192868.jpg)
![[!--classname--]](/d/file/2aaf20efacc9bdcd7427afe33b6d550d.png)
![[!--classname--]](/d/file/3e881e281eeb96401b8a458f8d34d108.png)






